Gepäckträger-Rohre sind rund? Nicht immer, Funktionsoptimierung, -integration und Design sorgen für vielfältige Formen. Daher passen auch nicht alle Taschen an jeden Gepäckträger.
Fabian hatte das Problem mit den Ortliebtaschen am Träger seines R+M Transporter. Auf den hochkant rechteckigen Rohren haben die Taschenhaken Spiel und wackeln. Statt der von Ortlieb beigelegten Inserts zur Anpassung an verschiedene Rohrdurchmesser hat er eine Version konstruiert, die an die Form der Trägerprofile angepasst ist und in kurzer Zeit 3D-gedruckt ist. Perfekt!
Die CAD-Daten hat er zum Download auf printables.com veröffentlicht.

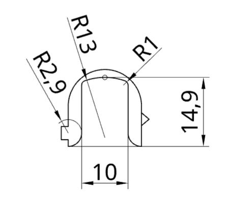
Sein Adapter ist für 10mm „breite“ Rohre vorgesehen, anbei der Querschnitt. Der ließe sich auch an andere Rohre anpassen.

Danke an Fabian für Idee und Bilder!

Hallo,
stehe gerade vor dem gleichen Problem.
Ich habe eine Ortlieb Vario PS Q 2.1 Tasche und den Riese und Müller Gepäckträger auf dem Nevo 4.
Super Idee mit dem selbstgemachten 3D -Adapter.
Ich würde gerne wissen, ob der Adapter auch hierfür verwendet werden kann.
Falls nicht, könnte er angepasst werden.
Ich habe einen Bekannten, der 3-D ausdrucken kann und würde ihn dann darum bitten.
Herzliche Grüße
Jasmin
Hi Jasmin,
der Original-Adapter von Fabian ist für (mehr oder weniger) rechteckige Rohr3e gedacht, uns die Öffnungsweite ist 10mm. Die Innere Höhe des Adapters (der exakt gerade Teil bis an die Radien) ist ebenfalls 10mm hoch, verträgt also ca. 11-12mm hohe Träger. Wenn der Nevo da irgendwo zwischen liegt (ich habe gerade keines zum Messen in der Nähe, könntest du den Adapter probieren, oder wenn dein Bekannter auch etwas konstruieren kann sogar individuell anpassen.
Gruß Kai
Hallo Kai,
vielen Dank für deine schnelle Antwort.
Herzliche Grüße
Jasmin